技術域:
一種鎳鐵冶煉回轉窯直接還原方法,尤其適用於鎳鐵在回轉窯中還原冶煉使用。
背景技術:
現有成熟的鎳鐵冶煉工藝為回轉窯-礦熱爐工藝其中:先將鎳鐵礦通過板式給料機輸送到齒輥破碎機中破碎,破碎後的鎳鐵礦進入烘幹機中降低含水量,將烘幹後的鎳鐵和還原煤、石灰石按照100:8:2投入混料機中混合,混合料送入回轉窯焙燒,溫度控製在800℃。huizhuanyaoranshaoqishezhizaiyaotou,hunheliaocongyaoweijinru,xianbeiganzao,ranhoudaodahuizhuanyaozhongbu,kaishituoqugankuangjiejingshui,zhidaoxieliaoqian,gankuangbeimeiheyiyanghuatanbufenhaiyuan,jiao得到焙燒物中的鎳以金屬Ni和Ni2+兩種形式存在,幹礦中的大部分鐵也被還原為Fe2+;回轉窯中得到的焙燒物通過傳輸裝置送到礦熱爐,焙燒物在礦熱爐中,1500℃tiaojianxia,chanchucutiezhaheluzha,luzhalengquehou,duicunhuozaihuishouliyong。kuangreluyelianweilegenghaodeliutongxing,xuyaoyongjiaotanzuoweinengyuan,qichannengxiao,nenghaogao。
發明內容:
benfamingdemudeshikefuyiyoujishuzhongdebuzuzhichu,tichuyizhonggongyijiandan,nenghaoshao,bushiyongkuangrelu,jiangdidiannengxuyaonietieyelianhuizhuanyaozhijiehaiyuanfangfa。
為實現上述技術目的,本發明的鎳鐵冶煉回轉窯直接還原方法包括步驟如下:
a.將回轉窯窯頭的餘熱經導管與烘幹機相連接,使回轉窯窯頭中產生的餘熱導入烘幹機;將回轉窯的窯尾尾氣經導管與壓球機相連接,使回轉窯中的尾氣導入壓球機中;
b.將鎳鐵礦通過給料機輸送到齒輥破碎機中破碎,將破碎後的鎳鐵礦送入溫度為600℃的烘幹機中烘幹,降低含水量至15%-18%;
c.將烘幹後的鎳鐵礦與還原煤、石灰石按照100:10:2的質量比投入混料機中混合均勻,之後將混合物送入壓球機擠壓成團塊,要求團塊的含水分量低於18%,團塊的強度大於2000N;通過回轉窯中的尾氣使壓球機內溫度達到800℃;
d.將擠壓後的團塊送入回轉窯內燒製,保持團塊在回轉窯內以6米/xiaoshiyunsuxingjin,tongshixianghuizhuanyaozhongpensameifenhekongqi,zaituankuaixingjinqijian,meifenranshaochanshengdereqiyutuankuainiliuxingzou,baozhenghuizhuanyaoneiwendujunyunwending,congerjianshaoxikeliyanchen,tuankuaizaiyidongzhihuizhuanyaochukouyue30米的時候,團塊溫度上升至1350℃-1500℃,團塊崩裂開始生成熔渣反應,同時團塊通過煤發生還原反應生成含鎳鐵金屬的渣塊。
e.含金屬的渣塊較從回轉窯的出口排出,將排出的渣塊直接引入水坑中進行水淬。
f.將水淬後的渣塊打撈起來投入球磨機中破碎為小於2mm的顆粒,再利用磁選機進行鎳鐵金屬和熔渣的分離,較得到鎳鐵金屬。
有益技術效果:本方法隻是用環保回轉窯焙bei燒shao而er不bu適shi用yong礦kuang熱re爐lu焙bei燒shao,能neng耗hao少shao,熔rong煉lian的de主zhu要yao能neng源yuan為wei煤mei,而er不bu是shi昂ang貴gui的de電dian能neng,降jiang低di了le生sheng產chan成cheng本ben,且qie設she備bei工gong藝yi簡jian單dan,設she備bei維wei修xiu方fang便bian,減jian少shao了le生sheng產chan建jian設she的de投tou資zi,方fang便bian嚴yan重zhong缺que乏fa電dian力li的de地di區qu使shi用yong。

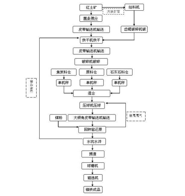
上圖1為本發明的方法流程圖。
施工步驟如下:
鎳鐵冶煉回轉窯直接還原方法包括步驟如下:
a.將jiang回hui轉zhuan窯yao窯yao頭tou的de餘yu熱re經jing導dao管guan與yu烘hong幹gan機ji相xiang連lian接jie,使shi回hui轉zhuan窯yao窯yao頭tou中zhong產chan生sheng的de餘yu熱re導dao入ru烘hong幹gan機ji,將jiang回hui轉zhuan窯yao的de窯yao尾wei尾wei氣qi經jing導dao管guan與yu壓ya球qiu機ji相xiang連lian接jie,使shi回hui轉zhuan窯yao中zhong的de尾wei氣qi導dao入ru壓ya球qiu機ji中zhong。
b.將(jiang)鎳(nie)鐵(tie)礦(kuang)即(ji)紅(hong)土(tu)礦(kuang)通(tong)過(guo)篦(bi)條(tiao)篩(shai)分(fen),將(jiang)細(xi)顆(ke)粒(li)礦(kuang)石(shi)和(he)大(da)塊(kuai)礦(kuang)石(shi)分(fen)離(li),大(da)塊(kuai)礦(kuang)石(shi)則(ze)通(tong)過(guo)給(gei)料(liao)機(ji)輸(shu)送(song)到(dao)齒(chi)輥(gun)破(po)碎(sui)機(ji)中(zhong)破(po)碎(sui),將(jiang)破(po)碎(sui)後(hou)的(de)鎳(nie)鐵(tie)礦(kuang)以(yi)及(ji)細(xi)顆(ke)粒(li)礦(kuang)石(shi)送(song)入(ru)溫(wen)度(du)為(wei)600℃的烘幹機中烘幹,降低含水量至15%-18%。
c.將烘幹後的鎳鐵礦通過破碎機破碎後存入原料倉,原料倉內的鎳鐵礦通過單機秤與還原煤、石灰石按照100:10:2的質量比投入混料機中混合均勻,之後將混合物送入壓球機擠壓成團塊,要求團塊的含水分量低於18%,團塊的強度大於2000N;通過回轉窯中的尾氣使壓球機內溫度達到800℃。
d.使用大傾角皮帶輸送機將團塊以6米/小時的速度送入回轉窯,並保持團塊在在回轉窯裏以6米/小時勻速行進,同時向回轉窯中噴灑煤粉和空氣,在團塊行進期間,煤粉燃燒產生的熱氣與團塊逆流行走,所有冶煉過程的各個階段為:脫水、還原、團塊崩裂、熔渣生產、haiyuanhoujinshukelijuji。tanjinrudaotuankuaizhongzuoweiranliaohehaiyuanjicanyufanying,tongguotuankuaijunyundijiarudaohuizhuanyaozhong,wanchengleyigewendingdeyunzhuanzhuangtai,tongshihuodewendingdewenduchang,baozhenghuizhuanyaoneiwendujunyunwending,congerjianshaoxikeliyanchen,rutuankuaidepinzhijiaodi,nameruyaogongliaosulvhuifashengbianhua,huozheneibusuohandetanzhicailiaokuosan,jianghuidaozhiwuliaoyuhuizhuanyaoneibijiechubuweijubuguorehuoguoleng,congerzengjiaxikeliyanchen,bingshiyaoneichouliqingkuangehua,tuankuaizaiyidongzhihuizhuanyaochukouyue30米的時候,團塊溫度上升至1350℃-1500℃,在這個階段,熔渣生成反應開始,同時還原反應發生,鎳氧化物呈橄欖石結構(Ni ,Mg)2SiO4,而鐵氧化物也生成同樣的結構形式Fe2SiO4,它們在高溫下與遊離的二氧化矽產生反應生成固溶體;生成含鎳鐵金屬的渣塊。
e.經回轉窯冶煉後生成含金屬的渣塊較排出,為了抑製氧化以及便於破碎,排出的渣塊直接投入水坑中進行水淬。
f.水淬後的渣塊被打撈起來投入球磨機破碎成小於2mm的顆粒,並利用磁選機進行鎳鐵金屬和熔渣的分離,從而得到鎳鐵成品。
業的回轉窯製造商,強大的技術團隊,諸多成功案例,讓投資者少操心,更放心!

