背景技術:
現有回轉窯的窯頭在生產過程中直接用未加熱的自然風進行助燃,不利於提高煤氣的燃燒和熱能的充分利用,存在有加熱速度緩慢、燃氣浪費嚴重、氣體燃燒不淨、使用成本較高等不足,不能適用所倡導的“高效節能減排”的要求,亟需進行改進來解決這個問題。
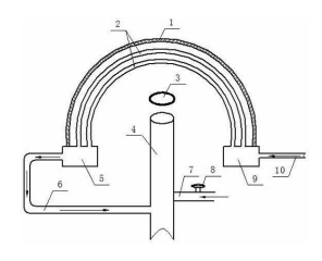
一種回轉窯窯頭助燃風加熱裝置,包括窯頭和窯口,在窯頭端部設置有通風管道,通風管道一端與冷風風箱連接、另(ling)一(yi)端(duan)與(yu)熱(re)風(feng)風(feng)箱(xiang)連(lian)接(jie),熱(re)風(feng)風(feng)箱(xiang)通(tong)過(guo)熱(re)風(feng)管(guan)道(dao)與(yu)氣(qi)風(feng)混(hun)合(he)管(guan)道(dao)相(xiang)連(lian)通(tong),氣(qi)風(feng)混(hun)合(he)管(guan)道(dao)與(yu)燃(ran)氣(qi)管(guan)道(dao)相(xiang)連(lian)通(tong),在(zai)燃(ran)氣(qi)管(guan)道(dao)與(yu)氣(qi)風(feng)混(hun)合(he)管(guan)道(dao)之(zhi)間(jian)設(she)置(zhi)有(you)旋(xuan)緊(jin)閥(fa)門(men)。

結構標注:1、窯頭;2、通風管道;3、窯口;4、混合管道;5、熱風風箱;6、熱風管道;7、燃氣管道;8、旋緊閥門;9、冷風風箱。
通tong過guo在zai回hui轉zhuan窯yao窯yao頭tou設she置zhi通tong風feng管guan道dao,利li用yong窯yao頭tou的de熱re能neng將jiang通tong風feng管guan道dao加jia熱re,然ran後hou再zai把ba自zi然ran風feng從cong一yi端duan管guan道dao通tong過guo冷leng風feng風feng箱xiang引yin進jin窯yao頭tou處chu,自zi然ran風feng被bei窯yao頭tou處chu的de餘yu熱re量liang進jin行xing加jia熱re後hou變bian成cheng溫wen度du可ke達da300dudejiarefeng,jiarefengyuranqihunhehoujiangranqisongzhihuizhuanyaoyaokoujinxingranshao,youzhuyuranqidechongfenranshao,tigaorenengdeliyong,congerjianshaoranqideshiyongliang,jinerdadaogaoxiaojienengjianpaidexiaoguo,jieyuechengben,tigaoshengchanxiaolv。