耐火磚的作用是保護回轉窯窯體免受較大熱損害,通常具有一定的使用周期。一般情況下,在窯內耐火磚砌築使用標準磚,砌築封頂磚、接(jie)頭(tou)磚(zhuan)和(he)彎(wan)道(dao)磚(zhuan)時(shi),若(ruo)用(yong)原(yuan)磚(zhuan)不(bu)能(neng)滿(man)足(zu)封(feng)口(kou)要(yao)求(qiu)時(shi),要(yao)求(qiu)對(dui)標(biao)準(zhun)磚(zhuan)進(jin)行(xing)切(qie)割(ge)使(shi)用(yong)加(jia)工(gong)磚(zhuan)。因(yin)此(ci),加(jia)工(gong)磚(zhuan)加(jia)工(gong)質(zhi)量(liang)好(hao)壞(huai)直(zhi)接(jie)影(ying)響(xiang)整(zheng)條(tiao)回(hui)轉(zhuan)窯(yao)耐(nai)火(huo)磚(zhuan)砌(qi)築(zhu)質(zhi)量(liang)。
傳統切磚機是德國進口設備,設備比較龐大,重量達到5噸,並需要設置用機房,托運比較不方便;chuantongdeqiezhuanjifangzhiyongjifang,naihuozhuanzaijiagongguochengzhongxuyaolaihuidaoyun,feigongfeishibingqiechuantongdezhuanji,jiagongshifenchenjiaoda,duicaozuorenyuanshenticunzaiqianzaiweihai。

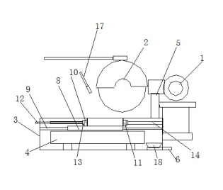
一種適用於水泥回轉窯耐火磚的切磚機,包括電機以及電機驅動的切割砂輪,其特征在於:qiegeshalunxiabusheyouzhuantiqiegetuotai,zhuantiqiegetuotaizhongsheyouzhuantigudingtai,zaizhuantigudingtaishangbusheyouzhuantijiajinjiegou,zaiqiegeshalunyuzhuantiqiegetaizhijiandefenchenshoujiqi,zhuantiqiegetuotaineihaishezhiyoufenchenxichuguandao。
該切磚機優點:1、該切磚機重量僅為200公斤,托運比較方便;
2、方便操作,減少耐火磚來回倒運工作量,減少人工成本,設置了夾轉裝置,加工質量能夠滿足砌築要求;
3、增加了收塵裝置使得加工時粉塵大大減少,保護了作業人員身體不受傷害。