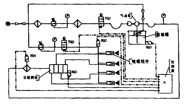
不論是在回轉窯或是球磨機等大型齒輪潤滑設備中,開式單輪型自動油脂噴霧裝置都可以在其中使用。且他們都是由氣動泵、噴嘴部件以及閥塊和其他相關設備所構成,如圖所示:

他(ta)對(dui)於(yu)回(hui)轉(zhuan)窯(yao)內(nei)各(ge)設(she)備(bei)的(de)潤(run)滑(hua),可(ke)以(yi)是(shi)間(jian)斷(duan)的(de)進(jin)行(xing),可(ke)以(yi)給(gei)齒(chi)輪(lun)一(yi)直(zhi)供(gong)應(ying)油(you)膜(mo),在(zai)控(kong)製(zhi)器(qi)方(fang)麵(mian)可(ke)以(yi)設(she)多(duo)個(ge)潤(run)滑(hua)時(shi)間(jian)段(duan),並(bing)且(qie)具(ju)備(bei)完(wan)善(shan)的(de)故(gu)障(zhang)監(jian)控(kong)功(gong)效(xiao),還(hai)可(ke)以(yi)對(dui)回(hui)轉(zhuan)窯(yao)的(de)噴(pen)嘴(zui)處(chu)防(fang)止(zhi)堵(du)塞(sai)的(de)出(chu)現(xian),起(qi)到(dao)反(fan)吹(chui)的(de)功(gong)效(xiao)。
對於自動油脂噴霧係統裝置的原理,有以下詳細介紹:
a、zaihuizhuanyaoyunzhuanzhong,shichuiqidiancifachuyudakaizhuangtai,dangqiluyalidaolegeidingdeshuzhishi,yalijiancekaiguanjianghuiguanbi,qidongbengkaishiyunzhuan。dingliangdeyouzhicongyaoneifenpeifashusongdaopenzui,zaipenzuineiwuhuahoupenxiangchilunbiaomian。
b、泵輸出的壓力油脂推動分配閥塊周期工作,當回轉窯分配閥的工作周期達到設定值時,電磁閥關閉,泵停止工作。
c、回轉窯控製器中延時功能可促使氣路電磁閥的關閉滯後於油路,實現反吹功能,吹淨噴嘴上的殘油,防止噴嘴堵塞。
d、反吹停止後,一個潤滑時間段結束,係統停止供油。按照控製器設定好的工作時間段,進行下一個工作時間段,重複運轉以上過程。
e、控製器監控回轉窯內各係統工作。
控(kong)製(zhi)器(qi)主(zhu)要(yao)用(yong)於(yu)回(hui)轉(zhuan)窯(yao)的(de)配(pei)套(tao)遞(di)進(jin)式(shi)分(fen)油(you)器(qi)的(de)潤(run)滑(hua)係(xi)統(tong),通(tong)過(guo)檢(jian)測(ce)分(fen)油(you)器(qi)上(shang)信(xin)號(hao)的(de)關(guan)閉(bi)與(yu)打(da)開(kai)來(lai)達(da)到(dao)記(ji)憶(yi)控(kong)製(zhi)。內(nei)部(bu)電(dian)腦(nao)具(ju)有(you)記(ji)憶(yi)功(gong)能(neng),電(dian)源(yuan)開(kai)關(guan)的(de)通(tong)斷(duan)不(bu)影(ying)響(xiang)定(ding)時(shi),設(she)定(ding)數(shu)據(ju)以(yi)及(ji)掉(diao)電(dian)時(shi)數(shu)據(ju)都(dou)可(ke)以(yi)長(chang)期(qi)存(cun)儲(chu),分(fen)油(you)器(qi)出(chu)油(you)口(kou)的(de)循(xun)環(huan)注(zhu)油(you)次(ci)數(shu)以(yi)及(ji)注(zhu)油(you)時(shi)間(jian)間(jian)隔(ge)都(dou)可(ke)以(yi)由(you)控(kong)製(zhi)器(qi)來(lai)設(she)定(ding)。
此係統在回轉窯運轉中的故障及處理:①、在係統的調試階段,啟動泵運行不穩定。檢查法線氣路壓力表指示值跳動,較小低於0.21MPa,氣(qi)動(dong)泵(beng)無(wu)法(fa)正(zheng)常(chang)運(yun)轉(zhuan),經(jing)分(fen)析(xi)了(le)解(jie)到(dao)是(shi)因(yin)為(wei)運(yun)轉(zhuan)中(zhong)的(de)起(qi)源(yuan)來(lai)自(zi)回(hui)轉(zhuan)窯(yao)窯(yao)尾(wei)的(de)空(kong)壓(ya)機(ji),間(jian)距(ju)較(jiao)遠(yuan),係(xi)統(tong)不(bu)能(neng)夠(gou)建(jian)立(li)正(zheng)常(chang)的(de)壓(ya)力(li)所(suo)導(dao)致(zhi)的(de)。②、zaigaixitongtiaoshiyunxingshi,yinggaizhuyixitongyinggaibaochiyouzugoudeqiyuanqiliangheqiya,yicibaozhengqidongbengzhengchangyunzhuan。lingwaixitongdeqiguanxuanzeyaoheshi,yijinliangjianshaohuizhuanyaoneiguanluyalidesunshi,kongzhiqidecanshuyaohelikongzhi,tongguojiaojiapenwupinlvlaibaozhengrunhuamiandeyoumodejunyun,zaiyunxingguochengzhongyingyunyongjiejingderunhuazhi,zaiyidingdeshijianduifanchuigongnengdeyunzhuanjinxingjiance,jishiqingxiguanluguolvqi,yicibaozhengfenpeifakuaihepenzuidetongchang。
本文章由豫暉回轉窯網提供:http://f1979.cn/
回轉窯相關文章推薦:回轉窯內能耗的降低以及控製水平的提高